每经编辑|黄胜
近日,李亚鹏在社交平台发视频辟谣丽江项目失败:丽江项目做得挺好的,在 2015 年开盘,就是丽江销售的第一名,20、21 年还逆势卖了 70 个亿,赚肯定赚了,这 10 年光发工资就发了几个小目标。李亚鹏还称,烂尾房是多年前的假新闻,法院已经判了,造谣者也道歉了。

李亚鹏持股公司又遭强执!
5 月 27 日消息,天眼查显示,丽江雪山投资有限责任公司新增 3 条被执行人信息,被执行总金额约 244 万元,执行法院均为丽江市古城区人民法院。

丽江雪山投资有限责任公司成立于 2008 年 11 月,法定代表人为李国栋,注册资本约 2.6 亿人民币,由阳光壹佰置业集团有限公司、李亚鹏等共同持股,其中,李亚鹏持股约 27.8%。
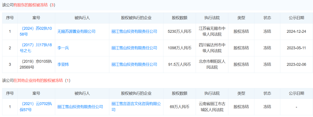
风险信息显示,上述公司已被限制高消费,并存在多条股权冻结信息,还曾因该拖欠税款而被列入欠税公告名单。


李亚鹏目前担任两家企业的法定代表人,和 6 家公司的股东 (一家已注销)。

除丽江雪山投资有限责任公司外,李亚鹏还有多条股权冻结等周边风险信息。李亚鹏已于 2023 年 10 月被北京市朝阳区人民法院限制高消费。

李亚鹏,毕业于中央戏剧学院表演系,男演员、商人。其代表作品有《青春作证》《将爱情进行到底》《笑傲江湖》 等影视作品。2014 年,李亚鹏宣布退出娱乐圈。
每日经济新闻综合公开消息
封面图片来源:每日经济新闻
文章转载自 每经网



