每经编辑|程鹏
8 月 24 日晚,8 月 24 日,大连科技学院发布情况说明:近日,有关我校教职工薪酬发放情况等网络信息引发社会关注。学校高度重视,加快推进相关问题解决。
关于网传学校工资停发问题,确因我校涉及一起多年前贷款担保纠纷,以致教职工 7 月份薪酬延期发放。网传大量债务信息实为举办方名下其他企业债务。经学校依法与司法机关及相关金融单位沟通协调,目前工资发放问题已全部解决,学校长期运行经费得到有效保障。学校秋季开学各项准备工作正在有序进行,将按照教学计划如期开学。

图片来源:大连科技学院官网
据深圳新闻网此前报道,近日,有网友发帖称 「大连科技学院全员停发工资,开学面临停摆」,引发关注。
在帖文评论区,记者注意到有一封落款为 「大连科技学院工会委员会」 的 《致全体教职员工一封信》。信中提到,在未收到任何法律文书和通知的情况下,学校各类相关账户被大连市中级人民法院冻结,致使 7 月工资未能如期发放。学校工会将为全体教职员工发放临时困难补贴和慰问补贴。
▲网友发帖称大连科技学院全员停发工资
▲评论区流传出该校内部信
8 月 23 日,记者以家长身份致电大连科技学院求证此事,学校院办工作人员证实网传的 《致全体教职员工一封信》 内容属实,但表示 「现在学校已经在解决这个问题了,政府不可能让学校停止运行,我们老师马上都上班了。」 同日,记者致电该校主管部门辽宁省教育厅,电话无人接听。
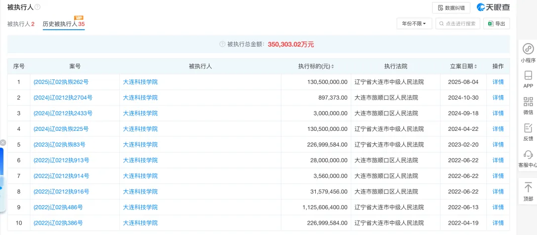
记者注意到,《致全体教职员工一封信》 的落款时间为 8 月 5 日。根据天眼查信息显示,大连科技学院共有 2 条被执行人信息,被执行总金额超 2.3 亿元;共有 35 条历史被执行人信息,被执行总金额超 35 亿元。其中,8 月 4 日新增 1 则恢复执行信息,执行标的超 1.3 亿元,执行法院为辽宁省大连市中级人民法院。
▲大连科技学院 2 条被执行人信息,总金额超 2.3 亿元。
▲大连科技学院历史被执行人信息共 35 条,总金额超 35 亿元。
公开资料显示,大连科技学院位于辽宁省大连市旅顺经济开发区,是一所理工类民办高校。学院于 2002 年 7 月建校,前身为大连交通大学信息工程学院,是大连铁道学院与大连阳光世纪教育产业投资有限公司 (下称 「大连阳光世纪教育」) 共同举办的独立学院。2011 年,学校改制为民办普通本科大连科技学院。
「我收到的录取通知里要求 10 天内交齐学费。」 一位该校新生告诉记者,自己 8 月初就已交齐所有学费。大连科技学院的收费公告显示,该校本科专业学费为每年 26000 元-28000 元,专科学费为每年 18000 元。8 月 17 日,大连科技学院官方微信公众号发布 2025 年招生情况,已面向全国 22 个省份录取本科新生 2900 余人。学校目前在校生大约 1.2 万人。
一所高校,为什么能欠这么多钱?
记者梳理发现,大连科技学院背后的企业,大连阳光世纪教育同样官司缠身,而学校副董事长、常务副校长高小涵,是大连科技学院的法定代表人,同时也是大连阳光世纪教育法定代表人。目前,高小涵共有 22 条被限制高消费的记录,案件多集中在金融借款合同纠纷、债权转让纠纷、典当纠纷等。
一位大三在校生告诉记者,关于学校全员停薪的事,自己也是从网上看到,内部并未引起过多讨论,但是学校近期新装修了宿舍楼,并在招生季多次宣传寝室环境。
此前,该校还曾发布 2025 年招聘计划,招聘专任教师、专业带头人、辅导员等 42 人。
编辑|程鹏 杜恒峰
校对|陈柯名
封面图片来源:截图

每日经济新闻综合大连科技学院、深圳新闻网 (记者 袁斯茹 严偲偲)
文章转载自 每经网
